Společnost Athena Engineering S.r.l.
Společnost Athena Engineering S.r.l.
Produkty
API OH1 horizontální odstředivá čerpadla pro zachování tepla
  • API OH1 horizontální odstředivá čerpadla pro zachování teplaAPI OH1 horizontální odstředivá čerpadla pro zachování tepla

API OH1 horizontální odstředivá čerpadla pro zachování tepla

Model:T2LP
API OH1 horizontální odstředivé čerpadla pro ochranu tepla pro ochranu tepla, inovativní upgrade z chemických čerpadel, jsou vytvořeny Teffiko. Čerpadla v Teffiko's Series mají geniální designy. Jejich dutá sendvičová struktura je kompatibilní s řadou izolačních médií, což umožňuje přesnou kontrolu teploty, zajišťuje efektivní a stabilní přepravu a prokazuje vynikající výkon za složitých pracovních podmínek, čímž usnadňuje hladký provoz procesů výroby chemických látek. Dodržujeme zásadu uvedení zákazníků na prvním místě, poskytuje profesionální rady pro výběr a přizpůsobené služby a vynakládá veškeré úsilí k udržení stability vybavení. Naše ceny jsou také vysoce konkurenceschopné, což vám umožňuje získat produkty s vysokou kvalitou za dostupnou cenu.

Série Teffiko T2LP řady API OH1 horizontální odstředivé čerpadla pro konzervaci tepla pro izolaci jsou vhodné pro přepravu médií s požadavky na udržení určité teploty v bodě zmrazení (nebo krystalizačního bodu), včetně neutrálních nebo korozivních médií, těch, které obsahují pevná částice, toxická média a hořlavá a výbušná média.

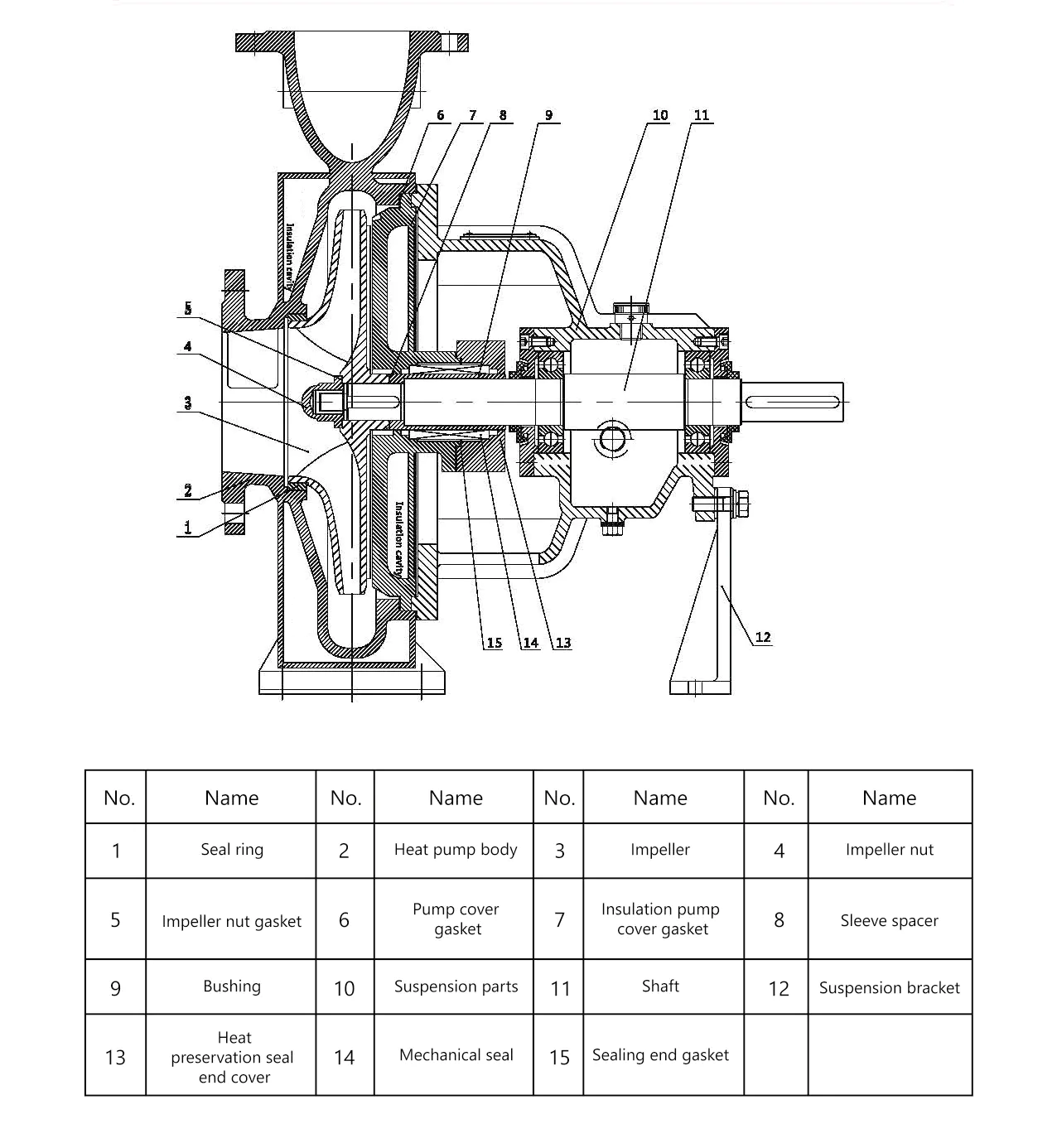
● Izolované tělo čerpadla: Kombinuje se s izolovaným krytem čerpadla, aby se udržovala konstantní teplota a je podporována nohama.

● Oběžné kolo: Uzavřený typ. Axiální síla je vyvážena vyvažovacími otvory nebo pomocnými lopatkami a zbývající síla nese ložiska.

● Izolovaný kryt čerpadla: tvoří standardní těsnicí komoru s izolovanou těsnicí žlázou, udržuje konstantní teplotu a je kompatibilní s různými těsněními.

● Utěsnění hřídele: V závislosti na pracovních podmínkách, balení, jednotném a dvojitém koncovém obličeji a tandemových mechanických těsněních lze vybrat.

● Ložiska: Mazaná tenkým olejem. Olejový šálek konstantní úrovně řídí hladinu oleje, aby bylo zajištěno dobré mazání.

● Hřídel: Chráněno rukávem hřídele, aby se zabránilo korozi a prodloužilo životnost.

● Návrh podporovaný zadní částí: chráněn rukávem hřídele, aby se zabránilo korozi a prodloužilo životnost.


Diagram centrifugálního čerpadla T2LP

Api Oh1horizontal Centrifugal Pumps For Heat Preservation

Oblasti aplikace

● Petrochemický průmysl: Přeprava ropy s vysokou teplotou, těžký olejový oběh a izolace asfaltu.

● Jemný chemický průmysl: Transport s konstantní teplotou roztavené síry a kapalinové fenolické pryskyřice.

● Farmaceutické pole: Aseptická izolační transport API citlivých na tepelně a sirup.

● Cukrový průmysl: Používá se pro přepravu sirupu, cukrové pasty a melasy.

● Elektrárny: Pro přepravu krmivé vody kotle, kondenzátu vody a odsiření a kašlí na denitrifikaci.

● Papírové mlýny: Pro přepravu vysokoteplotní buničiny, povlakové kapaliny a bílé vody.


Pracovní podmínky

● Průtok: 2 - 2000 m³/h

● Hlava: až 160 m

● Tlak: ≤2,5MPa

● Teplota: - 40 ℃ - 260 ℃

● Rychlost rotace: 1450 ot/min, 2950 ot/min/min


Hot Tags: API OH1 horizontální odstředivá čerpadla pro zachování tepla, teffiko tepelné čerpadlo, API OH1 specifikace
Odeslat dotaz
Kontaktní informace
Pokud jde o dotazy ohledně odstředivých čerpadel API, šroubovací čerpadla, jednorázové dvojité šroubové čerpadlo nebo ceník, nechte nám prosím svůj e -mail a my budeme v kontaktu do 24 hodin.
  • BACK TO ATHENA GROUP
  • X
    Používáme cookies, abychom vám nabídli lepší zážitek z prohlížení, analyzovali návštěvnost webu a přizpůsobili obsah. Používáním tohoto webu souhlasíte s naším používáním souborů cookie. Zásady ochrany osobních údajů
    Odmítnout Přijmout